twinlove69
Active Member
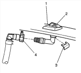
Hi, this is the closest thread I found...  I just got a replacement headlight washer nozzle cover painted.
Went to put it on thinking it just snaps on, but didn't want to break it...
Looks like I need to remove the splash shield on that side for access and then remove the nozzle, put the cover on and then replace the nozzle?
Does the cover just snap straight on once the nozzle is removed?
If someone has a service manual and could post the exact procedure, I would greatly appreciate it!
Thanks, Joe.
				
			Went to put it on thinking it just snaps on, but didn't want to break it...
Looks like I need to remove the splash shield on that side for access and then remove the nozzle, put the cover on and then replace the nozzle?
Does the cover just snap straight on once the nozzle is removed?
If someone has a service manual and could post the exact procedure, I would greatly appreciate it!
Thanks, Joe.
 
	 
 
		
 
 
		 
 
		

